Preverite pritrditev zatičev v ohišje naprave za testiranje vtiča.
Preskusna naprava za preverjanje pritrditve zatičev v ohišje vtiča za IEC 60884 Slika 30 Postavitev preskusa
Podrobnosti o izdelku: model ZLT-CX1
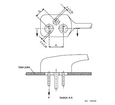
Za določitev pritrditve zatičev v telo vtiča, v skladu z IEC60884-1, slika 30, je vtič nameščen na togo jekleno ploščo z luknjami, primernimi za zatiče vtiča.
Razdalje med središči lukenj morajo biti enake razdaljam med središči kroga, ki je obkrožen s površino prečnega prereza vsakega čepa v standardnem listu čepa.
Vsaka luknja mora imeti premer, ki je enak premeru kroga, ki je obkrožen s površino prečnega prereza zatiča plus (6 ± 0,5) mm.
Čep je nameščen na jekleni plošči tako, da središča krogov, ki obkrožajo zatiče, sovpadajo s središči lukenj.
Vlečna sila P, ki je enaka največji izvlečni sili, kot je podana v tabeli 16 v standardu IEC 60884-1, se izvaja brez sunkov 1 minuto na vsakem zatiču zaporedoma v smeri vzdolžne osi zatiča.
Vleka se izvede v grelni komori pri temperaturi (70 ± 2) °C, 1 uro po tem, ko je bil čep vstavljen v grelno komoro.
Po preskusu se sveč pusti, da se ohladi na sobno temperaturo, in preveri se, da se noben zatič v telesu čepa ni premaknil za več kot 1 mm.
Standardna obleka:
1 testno stojalo,
1 testna postaja,
1 komplet uteži, 50*1-20N*2-30N*1-4N*1,
1 komplet nogavic, BS nogavic in ZDA nogavic
Izkusite neprimerljivo natančnost z 'Preverjanjem pritrditve zatičev v ohišju naprave za testiranje vtiča'. To bistveno orodje zagotavlja, da je vsak vtič v skladu z najvišjimi standardi in se brezhibno vključi v vaš potek dela zagotavljanja kakovosti
